GESCHICHTE UND SYSTEMATIK DER
LEITUNGSÜBERTRAGER HF-Übertrager existieren heute in zwei grundlegende Formen: klassische Transformatoren und sogenannte "Transmission Line Transformer" oder Leitungsübertrager. Während die Energieübertragung bei klassischen Transformatoren durch Kopplung ihrer Wicklungen über den magnetischen Fluss stattfindet, basiert sie bei den Leitungsübertragern auf der elektromagnetischen Wellenausbreitung in einer Übertragungsleitung mit wesentlich höheren Bandbreiten und niedrigeren Verlusten. Die Entwicklung dieser Leitungsübertrager begann mit einer simplen bifilaren Spule ...Dr. Felix Gerth wickelt eine bifilare (zweidrähtige) Spule und erfindet damit die Gleichtaktdrossel. Indem sie gleichphasigen (Gleichtakt-) Strömen auf einer hochfrequenten Übertragungsleitung eine hohe Reaktanz entgegenstellt aber für gegenphasige (Gegentakt-) Ströme in ihren beiden Leitern transparent ist und diese ungehindert fließen lässt, erzwingt sie Stromsymmetrie auf der Leitung und verhindert, dass diese Teil der strahlenden Antenne wird und Ausgleichsströme über unerwünschte Pfade fließen. Seine Erfindung wird 1932 als "Energieleitung für Antennen" für die C. Lorenz AG als Patent angemeldet (DE 592184).

Auszüge aus der Patentschrift:
"In der Hochfrequenztechnik werden bekanntlich an den verschiedensten Stellen Energieleitungen benutzt, die im wesentlichen aus zwei parallelen Leitern bestehen, die von der zu übertragenden Hochfrequenz gegenphasig durchflossen werden, so daß sich die äußeren Felder aufheben und keine Strahlung auftritt. Liegen die räumlichen Längen dieser Energieleitungen jedoch in der Größe der Wellenlänge und sind außerdem äußere Felder vorhanden, so kann es vorkommen, daß die Leiter außer den gegenphasigen Strömen auch von gleichphasigen Strömen durchflossen werden. Dies ist z.B. der Fall bei Anordnungen, die zur Speisung von Antennensystemen dienen [...] Diese gleichphasigen Ströme haben dann wiederum ein Strahlen der Energieleitung zur Folge [...] Es wird zur Vermeidung dieser Nachteile erfindungsgemäß vorgeschlagen, in den Energieleitungen Mittel vorzusehen, durch welche gegenphasige Ströme in den parallelen Leitern ungehindert fließen können, gleichphasige jedoch gehindert werden [...] In die Mitte der Energieleitung ist eine Spulenanordnung eingeschaltet, die aus zwei ineinandergewickelten und somit eng miteinander gekoppelten gleichsinnigen Spulen bestehen. Für die gegenphasigen, vom Sender kommenden Ströme heben sich die Induktivitäten der Spule auf, ao daß in dieser gewollten Richtung die Energie ungehindert fließen kann. Für die durch die Ausstrahlung der Antenne A induzierten gleichphasigen Ströme summieren sich jedoch die Induktivitäten , so daß diese Ströme großen Widerstand finden, also nicht fließen können [...]"
Eine Gleichtaktdrossel macht faktisch nichts anderes, als die Magnetisierungsinduktivität der aufgewickelten Übertragungsleitung (für Coaxialkabel fast unabhängig vom Typ ca. 1 μH/m) zu erhöhen, während sie ihre Streuinduktivität (für Coaxialkabel ca. 1.25 nH/m mit weniger als 25% Abweichung über alle Typen) und alle anderen Leitungsparameter unberührt lässt. Sie verlängert also die Leitung künstlich hinsichtlich ihrer Magnetisierungsinduktivität und je höher ihr Wert, umso stärker erzwingt der Strom auf einem Leiter der Leitung einen gleichgroßen aber entgegengesetzten Strom auf dem anderen Leiter und umso weniger Gleichtaktstrom toleriert die Leitung, der auch als Ausgleichsstrom auf unerwünschten Pfaden zwischen Generator und Lastwiderstand fließt. So hat z.B. ein 20 m langes Coaxialkabel eine Magnetisierungsinduktivität M von ca. 20 μH, die unerwünschten Gleichtaktsrömen auf 14 MHz eine Reaktanz von 2 π f M = 1759 jΩ entgegenstellt. Mit der Magnetisierungsinduktivität und der Frequenz wächst also die Stromsymmetrierung und damit auch die Unterdrückug von Ausgleichsströmen durch Trennung der Potentiale an beiden Enden der Leitung.
Gustav Guanella (er)findet dieselbe Gleichtaktdrossel und meldet sie 1942 als "Spulenähnliches Leitungsgebilde mit stetig verteilten Leitungskonstanten" für die Patentverwertungs- & Elektro-Holding AG "Patelhold" zum Patent an (CH233050). Es ist sicher kein Zufall, dass die Darstellung seiner "Fig.1" fast exakt der "Abb.1" von Felix Gerth entspricht - mit gleichem Verlauf der Leiter und sogar gleicher Windungszahl, nur etwas größer und mit einem angedeuteten Spulenkörper gezeichnet.

Das Neue an seinem Patent ist nicht die Gleichtaktdrossel an sich, sondern ihre Anwendung 1) als künstliche Verzögerungsleitung für Hochfrequenz und 2) wegen ihrer stromsymmetrierenden Eigenschaft als Bindeglied zwischen symmetrischen und unsymmetrischen Netzwerken, indem sie unerwünschte Ausgleichsströme unterdrückt. Im Gegensatz zu Gerth, der sie nur als bifilare Spule in eine symmetrische Speiseleitung geschaltet hat, beschreibt Guanella ihre Anwendung erstmals als das, was wir heute "BalUn" (Balanced-Unbalanced) Übertrager nennen, betrachtet dabei die bifilare Wicklung selbst als aufgewickelte Übertragungsleitung und berücksichtigt auch deren Wellenwiderstand. So wird als Anwendungsbeispiel gezeigt, wie sie in Kombination dieser Eigenschaften eine symmetrische Gegentakt-Röhrenstufe mit einem unsymmetrischen Coaxialkabel verbindet, unerwünschte Ausgleichsströme über den Kabelmantel verhindert und dabei auch als abstimmbarer Lecherkreis wirkt. Das Patent beschreibt aber auch eine Anwendung zur gleichzeitigen Impedanzanpassung, indem der Wellenwiderstand der aufgewickelten Leitung dem geometrischen Mittel der anzupassenden Widerstände und ihre Länge etwa einer viertel Wellenlänge entspricht.
Im nächsten Schritt wickelt Guanella N bifilare Gleichtaktdrosseln aus Übertragungsleitungen mit gleicher Phasendrehung oder Laufzeit, also gleicher elektrischer Länge, schaltet sie auf einer Seite parallel und auf der anderen Seite in Serie und verwendet sie auf diese neue Art und Weise als Breitband-Übertrager sowohl zur Stromsymmetrierung als auch zur Impedanzanpassung im Verhältnis 1:N². Diese Zusammenschaltung mehrerer Gleichtaktdrosseln ist nur deshalb möglich, weil die unterschiedlichen Potentiale an ihren beiden Toren durch ihre Gleichtaktimpedanz getrennt werden. Er meldet seine Erfindung 1943 als "Schaltung zur Anpassung von zwei elektrischen Systemen mit ungleichem Innenwiderstand" für die Patelhold zum Patent an (CH 257887). Damit diese Leitungsübertrager richtig funktionieren können, müssen die Gleichtaktdrosseln unbedingt magnetisch entkoppelt sein, also insbesondere bei hochpermeablem Kernmaterial auf separate Kerne gewickelt werden.

Generator oder Lastwiderstand werden als unsymmetrisch ("unbalanced") bezeichnet, wenn einer ihrer beiden Anschlüsse auf Nullpotential (Masse) liegt. Ergänzt man sie jeweils um ihr an der Masseebene gespiegeltes Ebenbild, werden sie symmetrisch ("balanced"). Der symmetrische Generator besitzt somit zwei im Gegentakt arbeitende Urspannungsquellen, die mit einem Pol gemeinsam auf Nullpotential liegen und deren Gegenpol jeweils über den halben Innenwiderstand zu den Anschlüssen führt. Der symmetrische Lastwiderstand liegt mit seiner elektrischen Mitte auf Nullpotential und zwei gleichgrosse Teilwiderstände führen zu den Anschlüssen. Guanella's Übertrager aus Gleichtaktdrosseln sind unter Funkamateuren als Strombalun bekannt, obwohl die Bezeichnung Balun eigentlich unzutreffend ist, weil sie Stromsymmetrie erzwingen und deshalb nicht nur die Zusammenschaltung perfekt symmetrischer und unsymmetrischer sondern beliebiger und auch in ihrer Symmetrie gestörter Systeme erlauben. Der Begriff Strombalun wurde von Roy Lewallen, W7EL 1985 geprägt ("Baluns: What They Do and How They Do It", The ARRL Antenna Compendium, Volume 1, S. 12-15). Je nach Betriebsart arbeiten die Gleichtaktdrosseln dabei aber in unterschiedlichen Modi, als wirklicher 1:1 Leitungsübertrager oder aber nur als Verzögerungsleitung, und entsprechend liegen über ihren Wicklungen unterschiedliche Spannungen (weshalb sie magnetisch entkoppelt sein müssen) und ihr Kernmaterial wird unterschiedlich belastet.
So kann eine einzelne Gleichtaktdrossel z.B. als 1:1 BalUn oder als UnUn betrieben werden. Als BalUn ist ein Tor perfekt symmetrisch und das andere Tor perfekt unsymmetrisch und über der Drossel liegt die halbe Generatorspannung. Als UnUn sind beide Tore perfekt unsymmetrisch und es sind zwei Fälle zu unterscheiden: Ist ein Leiter beidseitig geerdet liegt über der Drossel keine Spannung, ist dagegen ein Leiter auf der einen und der andere Leiter auf der anderen Seite geerdet (d.h. Erdung über Kreuz) liegt über der Drossel die volle Generatorspannung.
Entsprechend kann ein aus zwei Gleichtaktdrosseln bestehender Guanella z.B. als 4:1 oder 1:4 BalUn oder UnUn betrieben werden. Wir wollen jetzt nur die Fälle betrachten, bei denen ein perfekt unsymmetrischer (Un) Generator das niederohmige (1R) Tor speist, und variieren die Symmetrie des Lastwiderstands (Bal/Un) am hochomigen (4R) Tor (siehe Abbildung GUANELLA / RUTHROFF TRANSMISSION-LINE TRANSFORMERS am Ende dieser Seite). Als BalUn betrieben liegt über der Drossel die den "heißen" Generatoranschluss mit dem Lastwiderstand direkt verbindet keine Spannung. Als UnUn betrieben sind wieder zwei Fälle zu unterscheiden: Ist ein Leiter einer Drossel beidseitig geerdet liegt über ihr keine Spannung, über der anderen Drossel liegt aber die volle Generatorspannung. Ist dagegen eine Drossel auf der einen und die andere Drossel auf der anderen Seite geerdet (d.h. diagonale Erdung) liegt über der am Lastwiderstand geerdeten Drossel die einfache aber über der anderen Drossel sogar die doppelte Generatorspannung. Sind die Symmetriezustände an den Toren nicht perfekt sondern gestört, ergeben sich entsprechende Spannungen zwischen diesen Extremwerten. Diese Betrachtung gilt nur, wenn die aufgewickelten Leitungen sehr kurz im Vergleich zur Wellenlänge sind und damit die Phasenverschiebung zwischen Generator und Last sehr klein ist. Spannung über einer Gleichtaktdrosseln erzeugt magnetischen Fluss und Verluste in ihrem Kernmaterial und es ist darauf zu achten, dass es nicht in die Sättigung gerät oder thermisch überlastet wird. Ist die Spannung über einer Gleichtaktdrossel null, wird auch kein magnetischer Fluss erzeugt und ihr Kern nicht belastet - ihre Drosselwirkung ist dann völlig irrelevant und sie dient lediglich als Verzögerungsleitung, die genausogut auf einen nichtpermeablen Kern oder überhaupt nicht aufgewickelt zu sein braucht, aber elektrisch möglichst genau gleich lang wie die andere Leitung sein muss.
Da bei den 1:N² Guanellas die kaskadierten Spannungen am hochohmigen Ausgang alle gleich verzögert sind, werden sie auch "equal delay network" genannt und ermöglichen vor allem als UnUn unabhängig von der elektrischen Länge die höchsten möglichen Bandbreiten. Vor Guanella's Erfindungen wurden BalUns durch Viertel- und Halbwellen-Übertragungsleitungen realisiert und waren entsprechend schmalbandig. Guanella's Schaltungen sind dagegen, wie er selbst in seinem Artikel "Novel Matching Systems for High Frequencies" (Brown Boveri Review, Vol 31, September 1944, S. 327-329) wörtlich schreibt, "frequency independent" und damit die ersten Breitband-Übertrager.
Für maximale Breitbandigkeit der Anpassung muss zunächst der Wellenwiderstand Zo der aufgewickelten Leitung dem geometrischen Mittel der anzupassenden Widerstände entsprechen, also Zo = SQRT (R x n²R), und außerdem müssen bei der transformierenden Variante die Laufzeiten aller N Gleichtaktdrosseln gleich sein. Solange dann ihre Gleichtakt-Reaktanz um ein vielfaches gößer ist als die anzupassenden Widerstände isolieren sie die Potentiale von Ausgang und Eingang und lassen Gegentaktströme ungehindert aber keine potentialausgleichenden Gleichtaktströme fließen. Guanellas erzwingen also unabhängig davon, ob und wie der Lastwiderstand geerdet ist, Stromsymmetrie und werden deshalb Strombaluns genannt.
Das erste der folgenden drei Bilder zeigt meine Testschaltung eines 1:4 Guanella. Beide Gleichtaktdrosseln haben 10 bifilare Windungen aus isolierten verdrillten Drähten auf Amidon FT140-43 Ferritringkernen mit einer Wicklungsinduktivität von ca. 100 μH, sie sind eingangsseitig parallel und ausgangsseitig seriell (kaskadiert) geschaltet. Der hochohmige Ausgang auf der rechten Seite ist mit zwei Widerständen von 150 Ω (oben, gelber draht) und 50 Ω (unten, blauer draht) abgeschlossen, die in Serie geschaltet und an ihrem Verbindungspunkt mit der Groundplane (also mit Masse) verbunden sind, sodass sie z.B. für eine in ihrer Symmetrie gestörte Feederleitung mit 200 Ω Eingangsimpedanz stehen könnten. Das zweite Bild zeigt SWR = 1.04 und Z = 49.7 + j2.0 Ω gemessen auf 1.8 MHz am niederohmigen Eingang auf der linken Seite mit einem MFJ-226 "Graphical Impedance Analyzer", diese Werte entsprechen einer fast idealen 4 : 1 Transformation. Das dritte Bild zeigt die gegenphasigen Spannungen von ca. 1.45 Vs über dem 150 Ω Widerstand (gelbe Kurve) und 0.5 Vs über dem 50 Ω Widerstand (blaue Kurve) mit einem unsymmetrischen Generatorsignal von 1 Vs am niederohmigen Eingang. In den Signalspitzen fließen also 1.45 V / 150 Ω = 0.0097 A in den 150 Ω Widerstand hinein (oder aus ihm heraus) und gleichzeitig 0.5 V / 50 Ω = 0.01 A aus dem 50 Ω Widerstand heraus (oder in ihn hinein). Der vernachlässigbare differentielle Strom von 0.01 A - 0.0097 A = 0.0003 A repräsentiert Gleichtaktstrom, der über den Guanella und über die Groundplane vom/zum Generator fließt, und somit ergibt sich für das "Common-Mode Rejection Ratio" oder kurz CMRR (Gleichtaktunterdrückung) der hervorragende Wert 20 log (0.01/0.0003) = 30 dB.

Schließlich wurde eine Gleichtaktdrossel entfernt und so aus dem 1:4 ein einfacher 1:1 Guanella, der auf dem ersten der folgenden drei Bilder zu sehen ist. Das zweite Bild zeigt SWR = 4.02 und Z = 195.1 - j32.9 Ω, was abgesehen vom Imaginärteil einer fast idealen 1:1 Transformation des 200 Ohm Lastwiderstandes entspricht. Das dritte Bild zeigt schließlich wieder die gegenphasigen Spannungen über den beiden Widerständen, aber jetzt mit 2 Vs am Eingang, denn damit die Eingangsleistung bei vierfachem Eingangswiderstand konstant bleibt muss die Spannung verdoppelt werden. Sie weichen nur unwesentlich von denen des 1:4 Guanella ab, und somit ergibt sich etwa derselbe Wert für die Gleichtaktunterdrückung von CMRR = 30 dB. Was würde ohne den hochpermeablen Ringkern passieren ? Die Reaktanz der Gleichtaktdrossel ohne Kern wäre auf 1.8 MHz vernachlässigbar klein, d.h. der untere 50 Ω Widerstand wäre über den blauen Draht kurzgeschlossen, weil dieser auf der linken Seite genau wie der Verbindungspunkt beider Widerstände auf gemeinsamer Masse (Groundplane) liegt. Der Strom würde also nur durch den oberen 150 Ω Widerstand und über die Groundplane vom/zum Generator fließen, der untere 50 Ω Widerstand wäre vom Generator total entkoppelt und könnte keine Leistung aufnehmen.

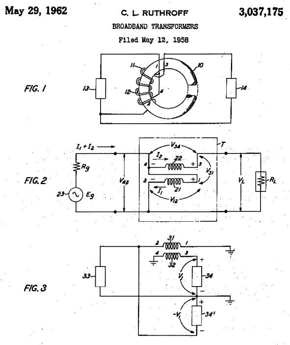
Clyde L. Ruthroff sucht nach Übertragern für extrem kurze Impulse, die für möglichst verzerrungsfreien Betrieb extrem breitbandig sein müssen und Transformationsverhältnisse größer als 1:1 unter Verwendung einer einzigen bifilaren Wicklung ermöglichen sollen. konventionelle Transformatoren scheiden dafür wegen ihrer Streuinduktivität und Wicklungskapazität aus, so nimmt er den 1:1 Guanella als Grundelement für eigene Varianten und bezeichnet ihn als "basic building block". Er verbindet zunächst das Ende eines Leiters direkt mit dem gegenüberliegenden Ende des anderen Leiters, sodass die beiden Leiter der aufgewickelten Übertragungsleitung in Serie liegen. Dann schaltet er an einem Ende der Leitung ihren offenen Leiter direkt auf Masse und ihren anderen Leiter über einen niederohmigen Generator auf Masse, sowie am anderen Ende ihren offenen Leiter über einen hochohmigen Lastwiderstand auf Masse. Diese Konfiguration ist nichts anderes als ein bifilarer 1:4 Spartransformator (auf der Abbildung am Ende dieser Seite die linke Variante des RUTHROFF 1:4 UNUN).
Die Spannung am hochohmigen Ausgang dieses Übertragers ist die Summe einer direkten Spannung, nämlich der Eingangsspannung V über einer Wicklung, und einer kaskadierten indirekten Spannung, nämlich einer wegen der engen Kopplung beider Wicklungen gleichgroßen Spannung V' welche aber die Übertragungsleitung traversiert hat und daher verzögert, also phasenverschoben ist. Am Ausgang liegt im Idealfall die doppelte Spannung 2V und das Ergebnis ist ein 1:4 UnUn mit nur einer bifilaren Wicklung, deren Wellenwiderstand für maximale Breitbandigkeit dem halben Lastwiderstand entprechen sollte. Im Gegensatz zu Guanella spielt bei Ruthroff die elektrische Länge der Übertragungsleitung eine entscheidende Rolle und ihre Verzögerung begrenzt die Bandbreite nach hohen Frequenzen hin. Da aber Ruthroff nur mit Kleinsignal-Anwendungen befasst war und im Gegensatz zu Guanella Kerne hoher Permeabilität benutzte, reichten ihm wenige Windungen auf sehr kleinen Kernen (5 bis 10 Wdg. 0.1 mm Drähte auf Kerne mit teilweise nur 2 mm Durchmesser !). Entsprechend klein waren die Leitungslängen und Phasenverschiebungen und damit die erzielten Bandbreiten beachtlich. Die Realisierung eines wirklich breitbandigen 1:4 UnUn nach Ruthroff für Leistungsanwendungen auf großen Kernen ist dagegen fast unmöglich.
Wird die Gleichtaktdrossel auf einen entsprechend hochpermeablen Kern gewickelt, kann für eine gegebene untere Grenzfrequenz die Anzahl der Windungen und damit die Leitungslänge reduziert werden. Weil die Ausgangsspannung dieses Übertragers mit steigender Frequenz sinkt und null wird wenn die Leitungslänge λ / 2 erreicht, wird durch weniger Windungen sein Übertragungsfrequenzbereich nach oben erweitert. Und weil der Eingangswiderstand eines sehr kurzen Stücks Übertragungsleitung etwa ihrem Abschlusswiderstand entspricht, wird die Funktion des Übertragers damit gleichzeitig weitgehend unabhängig vom Wellenwiderstand der aufgewickelten Übertragungsleitung. Ein so aufgebauter Übertrager hat die Breitband-Eigenschaften einer Übertragungsleitung und die Transformations-Eigenschaften eines bifilaren Spartrafos.
Als nächstes wandelt Ruthroff den "basic building block" so ab, dass er ihn als Phaseninverter betreibt. Dazu verbindet er das Ende eines Leiters nicht wie zuvor direkt, sondern über einen hochohmigen Lastwiderstand mit dem gegenüberliegenden Ende des anderen Leiters. Dann schaltet er an einem Ende der Leitung ihren offenen Leiter direkt auf Masse und ihren anderen Leiter über einen niederohmigen Generator auf Masse, sowie am anderen Ende ihren offenen Leiter direkt auf Masse. Damit ergibt sich ein Spannungsabfall von V über beiden Leitern der Übertragungsleitung und von 2V über dem Lastwiderstand, und wenn der Lastwiderstand mittig auf Masse liegt ist das Ergebnis ein 1:4 BalUn mit nur einer bifilaren Wicklung (auf der Abbildung am Ende dieser Seite die linke Variante des RUTHROFF 1:4 BALUN). Ruthroff meldet diese beiden Varianten 1958 als "Broadband Transformers" für die Bell Telephone Laboratories zum Patent an (US 3037175).

Jerry Sevick, W2FMI, hat aufgezeigt, daß sich Ruthroff's 1:4 Balun wie ein 1:4 Guanella verhält und und eine sehr gute Breitbandigkeit zu hohen Frequenzen hin aufweist, falls der Lastwiderstand mittig geerdet ist. Bei schwimmender Last verschlechtert sich dagegen die Anpassung zu hohen Frequenzen hin deutlich.
1959 erschien Ruthroff's Artikel "Some Broad-Band Transformers" (Proceedings of the IRE, Vol. 47, August 1959, S. 1337-1342), in dem er neben seinem bereits bereits bekannten 1:4 UnUn und 1:4 BalUn sowie verschiedenen Hybriden auch einen 1:1 BalUn beschreibt. Dabei fügt er dem "basic building block" einen dritten Leiter in Form einer extra Wicklung von einem symmetrischen Ausgangsanschluß nach Masse hinzu, und obwohl das Schaltbild wie eine trifilare Wicklung aussieht, zeigt ein Bild diese dritte Wicklung eindeutig auf einen separaten Teil des Kerns gewickelt. Tatsächlich verbessert sie die Symmetrierung des 1:1 Guanella bei tiefen Frequenzen, wo dessen Reaktanz nicht mehr ausreicht, indem sie mit gleicher Induktivität zusammen mit der Wicklung eines Leiters der Übertragungsleitung einen induktiven Spannungsteiler oder Spartransformator bildet. Damit wird die Spannung an diesem Anschluß des Lastwiderstandes auf +V/2 und wegen der engen Kopplung beider Leitungswicklungen die Spannung am anderen Anschluss des Lastwiderstandes auf -V/2 gezwungen. Diese im Vergleich zum 1:1 Guanella verbesserte Symmetrierung auf tiefen Frequenzen wird aber durch schlechtere Anpassung erkauft, denn da die dritte Wicklung parallel zum halben Lastwiderstand liegt, transformiert sie ihn herunter und beaufschlagt die Eingangsimpedanz mit einem induktiven Imaginärteil.
Ruthroffs 1:1 Balun erzwingt also unabhängig davon, ob und wie der Lastwiderstand geerdet ist, Spannungssymetrie und wird deshalb Spannungsbalun genannt. Doch nur wenn auch der Lastwiderstand perfekt symmetrisch oder schwimmend ist, erzwingen diese symmetrischen Spannungen auch symmetrische Ströme. Zu hohen Frequenzen hin funktioniert er aber immer weniger auf diese Weise als Spannungbalun und trägt deshalb zu unrecht diese Bezeichnung, sondern wird immer mehr zum 1:1 Guanella und damit zum Strombalun, da diese dritte Wicklung eine immer höhere Reaktanz aufweist und damit transparent wird - als wäre sie also gar nicht vorhanden. Wichtig dabei ist, dass der dritte Draht auf einen separaten Teil desselben Kerns oder sogar auf einen eigenen zweiten Kern gewickelt wird, was zwar Ruthroff's Zielsetzung nicht mehr erfüllt aber den besseren Strombalun ergibt.
Den 1:1 Ruthroff auf tiefen Frequenzen, wo er Spannungssymmetrierung betreibt, auf seine Stromsymmetrierung bei unsymmetrischer Last zu testen und zu beurteilen, entspricht nicht seinem Zweck und ist daher unsinnig. Denn als ausgesprochener BalUn ist er eigentlich nur als Bindeglied zwischen perfekt symmetrischen und unsymmetrischen Netzwerken ausgelegt und in diesem Fall erreicht er die Stromsymmetrierung auch tatsächlich indirekt über die Spannungssymmetrierung. Oder anders gesagt: Ein Guanella ist mehr und kann mehr als ein BalUn und deshalb macht es keinen Sinn, einen ausgesprochenen BalUn mit ihm zu vergleichen. Und schließlich funktioniert die Beurteilung des 1:1 Ruthroff durch Messung der Drosseldämpfung bei zusammengefassten Anschlüssen auf beiden Seiten nur auf hohen Frequenzen, weil er nur dort wie ein Guanella arbeitet, nicht jedoch auf tiefen Frequenzen, weil er dort als Spannungsbalun arbeitet und zur Stromsymmetrierung einen symmetrischen Lastwiderstand benötigt. Auf jeden Fall muß aber die dritte Wicklung geerdet sein, sonst kann er auf keiner Frequenz funktionieren !
Richard H. Turrin, W2IMU, ist ein Kollege von Ruthroff bei den Bell Labs. Er modifiziert dessen 1:1 BalUn für Leistungsanwendungen, indem er dickere Drähte, größere Kerne und verlustärmere Ferrite mit niedrigerer Permeabilität verwendet und schließlich die Drähte trifilar, also den dritten Draht nicht separat wickelt. Er veröffentlicht dazu 1964 den Artikel "Broad-Band Balun Transformers" (QST, August 1964, S. 33-35). Durch die trifilare Wicklungstechnik reagiert Turrin's BalUn aber im Gegensatz zu Ruthroff's vor allem zu höheren Frequenzen hin äußerst empfindlich auf unsymmetrische oder fehlangepaßte Lastwiderstände, weil er aus zwei eng gekoppelten Übertragungsleitungen besteht, und stellt insgesamt einen ausgesprochen schlechten BalUn dar. Leider wurde dieser bekannter und öfter für vergleichende Messungen herangezogen, als das bessere Original von Ruthroff, weshalb beide oft verwechselt werden und dieselbe schlechte Reputation erworben haben. Daran konnte leider auch der von Turrin 1969 veröffentlichte Folgeartikel "Application of Broad-Band balun Transformers" (QST, April 1969, S. 42,43) wenig ändern, in dem er die Unterschiede zwischen Guanella, Ruthroff, und seinem Design beschreibt. Generell lässt sich feststellen, dass die dritte Wicklung nach Ruthroff eine Verbesserung des 1:1 Guanella für tiefe Frequenzen bewirkt, nach Turrin jedoch einen ausgesprochen schlechten BalUn ergibt, und in beiden Fällen die negative Eigenschaft besitzt, als direkter Pfad nach Masse auf tiefen Frequenzen eine unzureichende Reaktanz aufweisen und damit einen gefährlich hohen Flux im Kern erzeugen zu können.
Joe Reisert, W1JR, wickelt anstatt der bifilaren Drähte Coaxialkabel als 1:1 Guanella auf Ferrit-Toroide und veröffentlicht 1978 seinen Artikel "Simple and Efficient Broadband Balun" (Ham Radio, September 1978, S. 12-15). Seitdem sind keine Richtungsweisenden Publikationen mehr in der Amateurfunk-Literatur erschienen.
Guanellas werden heutzutage mit Paralleldrahtleitung bifilar oder mit Coaxialkabel auf ferromagnetische Ringkerne gewickelt. Und obwohl bei ausreichender Drosselwirkung nur die symmetrischen Leitungsströme fließen können und der Netto-Stromfluss null ist wird im Kern magnetischer Fluß erzeugt, und zwar durch die über der Wicklung liegende Spannung nach der Gleichung B [Gauss] = Veff [V] * 100 / (4.44 + Ae [cm²] * W * f [MHz]). Der Fluss B und damit auch die Verluste und Erwärmung des Kerns steigen also mit der Spannung und sinken mit steigender Querschnittsfläche Ae, Windungszahl W und Frequenz f. Nur wenn der Lastwiderstand perfekt symmetrisch ist, erzwingen diese symmetrischen Ströme auch symmetrische Spannungen von +-V/2 am Ausgang und damit einen Spannungsabfall von V/2 über beiden Leitern der aufgewickelten Übertragungsleitung - halb so viel wie über der Wicklung eines normalen Transformators liegt, was bei gleicher Wicklungsimpedanz nur 25% der Verlustleistung erzeugt.
Wenn Generator und Last unsymmetrisch sind, aber die Masseanschlüsse von Generator und Last nicht mit dem selben Leiter der Übertragungsleitung verbunden sind sondern diagonal, wird der 1:1 Guanella zum Phaseninverter mit einem doppelt so hohen Spannungsabfall über der Drossel. Dies bedeutet nicht nur viermal höhere Kernverluste und damit gleichhohe wie beim normalen Transformator, sondern erfordert auch mehr Reaktanz zur Verhinderung von Gleichtaktströmen. Und wenn die Masseanschlüsse mit dem selben Leiter der Übertragungsleitung verbunden sind, wird er zur Verzögerungsleitung ohne Spannungsabfall, womit der Kern elektrisch keine Rolle spielt und überhaupt nicht belastet wird. Letzteres ist auch bei schwimmender also erdfreier Last der Fall - Der Belastungstest einer Gleichtaktdrossel an einer künstlichen Antenne ("Dummy-Load") ist daher keine gute Idee, denn egal wie groß die Sendeleistung und wie klein der Kern ist: sie wird immer kalt bleiben ! Als Kernmaterial werden für kleine Leistungen hochpermeable Ferrite bevorzugt, für höhere Leistungen und/oder hohe Lastimpedanzen sind aber die Verluste in Ferriten zu hoch und sie überhitzen, weshalb niederpermeables aber viel verlustärmeres Eisenpulver mit entsprechend höherer Windungszahl zum Einsatz kommt.
Guanella's "basic building block" wurde so zum Grundbaustein aller nachfolgenden Leitungsübertrager oder "transmission line transformer" (TLT) und die Publikationen von Guanella und Ruthroff stellen immer noch die Eckpfeiler dieser Technologie dar. Dabei bieten aber Ruthroff's Übertrager nur einen Vorteil, nämlich mit einem Kern auszukommen wo Guanella zwei benötigt. Davon abgesehen sind Guanella's Übertrager wegen ihrer großen Flexibilität (als BalUn oder UnUn verwendbar), Vielseitigkeit (alle 1:N² realisierbar, wobei N Gleichtaktdrosseln am niederohmigen Tor parallel und am hochohmigen Tor in Serie geschaltet werden) und überragenden Breitbandigkeit ("equal delay network") für alle Anwendungen die erste Wahl. Viele Missverständnisse über Leitungsübertrager liegen darin begründet, daß sie nicht als das betrachtet werden, was sie wirklich sind: die clevere Zusammenschaltung von Übertragungsleitungen, die zu Gleichtaktdrosseln aufgewickelt sind.
Die wichtigsten Varianten der Leitungsübertrager ...
... zeigt folgende Abbildung. Bei den Guanella-Übertragern hängt die Spannung über den Wicklungen und damit die Belastung der Kerne auch von der Spannungssymmetrie beider Tore ab. Für perfekt symmetrische oder unsymmetrische Generatoren und Lasten ergeben sich jeweils die drei abgebildetetn möglichen Positionen des Masspotentials für das linke Tor (Ziffern 1,2,3) und für das rechte Tor (Buchstaben A,B,C) und somit 3 x 3 = 9 mögliche Konfigurationen, wobei jeweils nur der mit der Ziffer und mit dem Buchstaben bezeichnete Anschluss an Masse liegt. So bedeutet z.B. beim Guanella 1:1 die Konfiguration 1A dass das linke Tor und das rechte Tor mit dem oberen Anschluss an Masse liegen, also beide Tore perfekt unsymmetrisch sind.
Es ist nur die 1:4 Variante des transformierenden Guanella abgebildet, tatsächlich lassen sich aber mit N Gleichtaktdrosseln durch Parallelschaltung am niederohmigen und Serienschaltung am hochohmigen Tor alle 1:N² Transformationen realisieren. Die maximal mögliche Spannung Ut max. ist der "worst case" für die Belastung des entsprechenden Kerns. Je höher die Spannung über einer Drossel, umso höher die Verlustleistung und die magnetische Flussdichte im Kern und damit seine Belastung. Solange die aufgewickelten Übertragungsleitungen für alle Drosseln gleich lang und sehr kurz im Vergleich zur Wellenlänge sind, gilt für alle 1:N² Guanellas aus N=1,2,3... Drosseln: * An den Enden einer Drossel führen die beiden Leiter der aufgewickelten Leitung meist unterschiedliche Potentiale, aber über beiden bifilaren Wicklungen der Drosssel liegt immer dieselbe Spannung. * Beim transformierenden Guanella ist die am höchsten belastete Drossel immer die oberste oder unterste. * Die diagonale Erdung beider Tore stellt den "worst case" für die Belastung dar.
Die Ruthroff-Übertrager sind dagegen nur in der Konfiguration abgebildet, in der sie auch wirklich funktionieren, also als 1:4 mit perfekt unsymmetrischen bzw. symmetrischen Abschlüssen beider Tore. Dabei ist es für die transformierenden Übertrager nach Guanella und nach Ruthroff bei gegebener Generatorleistung sowie Impedanz und Symmetrie über beiden Toren völlig gleichgültig, ob der Generator das niederohmige Tor (linke Abbildung) oder das hochohmige Tor (rechte Abbildung) speist, die Belastung der Kerne ist für beide Fälle identisch.
BERECHNUNG VON LEITUNGSÜBERTRAGERN MIT RINGKERNEN
